Apple ยกเลิกโครงการพัฒนาแว่นอัจฉริยะ AR (Apple Glasses) ชั่วคราว

โดย Shine

มีรายงานใหม่จากเว็บ DigiTimes ซึ่งอ้างแหล่งข่าวจากผู้ที่เกี่ยวข้องกับโครงการพัฒนาแว่นอัจฉริยะ AR (Apple Glasses) ว่าตอนนี้ Apple เลือกที่จะหยุดพัฒนาแว่นอัจฉริยะนี้ชั่วคราว จากเดิมคาดกันว่าจะพร้อมเปิดตัวในปี 2020 ซึ่งยังไม่ระบุแน่ชัดว่าโครงการนี้จะกลับมาพัฒนาต่ออีกเมื่อไร

Apple Glasses project is "terminated", new report claims

นอกจากนั้นในรายงานยังระบุอีกว่า โครงการพัฒนาแว่นอัจฉริยะ AR (Apple Glasses) จะถูกยกเลิกเนื่องจากทีมงานที่ทำงานนี้ได้ถูกโยกย้ายไปทำงานในโครงการอื่นๆ เป็นที่เรียบร้อยแล้ว

สาเหตุที่เป็นเช่นนี้ก็คงมาจากปัญหาในการพัฒนาที่เกิดปัญหามากมาย แต่รายงานที่  DigiTimes เปิดเผยออกมานั้นมีความขัดแย้งกับรายงานที่ออกมาก่อนหน้านี้ว่า Apple เตรียมความพร้อมที่จะเปิดตัวแว่นอัจฉริยะ AR (Apple Glasses) ในช่วงปี 2020

Apple Glasses project is "terminated", new report claims

Ming-Chi Kuo นักวิเคราะห์สายผลิตภัณฑ์ Apple ก็ออกมาบอกเกี่ยวกับการพัฒนา Apple Glasses ว่า Apple กำลังพัฒนาแว่นอัจฉริยะนี้อย่างจริงจัง ซึ่งเป็นแว่นตาที่แตกต่างจากแว่นตาเสมือนจริง VR ที่ค่ายอื่นได้พัฒนา แต่ข่าวการลาออกของนักออกแบบและพัฒนา Avi Bar-Zeev ในเดือนมกราคม ซึ่งเป็นบุคคลที่เป็นบุคคลสำคัญในการโครงการแว่นตาอัจฉริยะนี้ จึงทำให้ข่าวของ DigiTimes ก็น่ามีความเป็นไปได้เช่นกัน

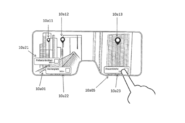
Apple Glasses จะเป็นอุปกรณ์ที่เชื่อมต่อกับ iPhone เหมือนกับ Apple Watch แต่มีขนาดเล็กกว่า มีลักษณะที่ดูกระทัดรัดในการสวมใส่และดูเหมือนกับแว่นตาทั่วไป

ที่มา phonearena

เรื่องที่เกี่ยวข้อง

This website uses cookies to improve your experience. We'll assume you're ok with this, but you can opt-out if you wish. Accept Read More