Samsung จดทะเบียนสมาร์ทโฟนกล้องหลัง 6 เลนส์ ในดีไซน์ใหม่

โดย Shine

Samsung ได้จดทะเบียนโมดูลกล้องหลังแบบใหม่ที่มีถึง 6 เลนส์ หลังจากที่เป็นบริษัทแรกที่พัฒนาเซ็นเซอร์ความละเอียด 108 ล้านพิกเซลได้เป็นครั้งแรก

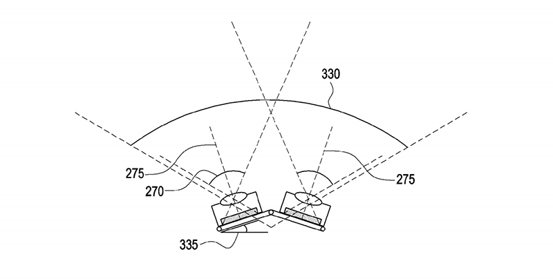
Samsung ได้จดทะเบียนสมาร์ทโฟนกล้องหลัง 6 เลนส์ผ่านทางองค์การทรัพย์สินทางปัญญาแห่งโลก (WIPO) โดยหัวข้อการจดทะเบียนใช้ชื่อว่า “อุปกรณ์ที่มาพร้อมกับกล้องหลายเลนส์สำหรับการถ่ายภาพแบบดิจิทัล” โดยคำอธิบายคร่าวๆ ว่า Samsung จะใช้เลนส์ Wide ทั้งหมด 5 เลนส์ และ Telephoto อีก 1 เลนส์

ทั้งนี้ การทำงานของกล้อง 6 เลนส์ที่จัดเรียงแบบนี้อาจทำให้เราได้ภาพที่มีความละเอียดสูงขึ้นจากการใช้เลนส์ฝั่ซ้ายและขวารวมเข้าด้วยกัน แถมยังทำให้ได้ภาพแบบพาโนรามาอีกด้วย

อย่างไรก็ตาม เราก็ต้องมาดูกันครับว่าการจดทะเบียนครั้งนี้ Samsung จะเริ่มพัฒนาจริงๆ เมื่อไหร่

ที่มา : androidpolice

เรื่องที่เกี่ยวข้อง

This website uses cookies to improve your experience. We'll assume you're ok with this, but you can opt-out if you wish. Accept Read More