ถือว่าน่าจะเข้ากับยุคสมัยที่เหมือนว่าการหายใจต้องการอะไรป้องกันได้ดีที่สุด ตอนนี้ Xiaomi ได้จดสิทธิบัตรหน้ากากอัจฉริยะรุ่นใหม่ที่สามารถวัดอัตราการหายใจของผู้ใช้งานได้ ผ่านทางสำนักงานทรัพย์สินทางปัญญาสหรัฐ (USPTO)

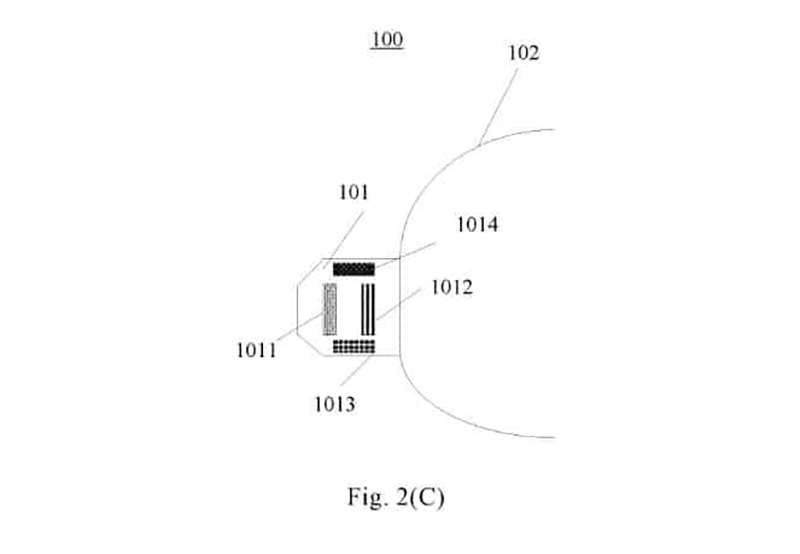
อ้างอิงจากสิทธิบัตรหน้ากากของ Xiaomi นั้นมีตัววัดด้วยกัน 4 เซ็นเซอร์ที่ฝังเข้าไปเพื่อทำการเก็บข้อมูลต่างๆ ทั้งนี้ การใช้งานของหน้ากาแบบนี้ก็ต้องใช้แบตเตอรี่ด้วยเช่นกัน และก็มีฟิลเตอร์ตัวกรองที่ใช้แบบตามมาตรฐานปกติ
สำหรับฟีเจอร์ต่างๆ สามารถเก็บบันทึกระยะเวลาในการสวมใส่ของเราคู่กับปริมาณการรับมลพิษ และส่งไปยังแอปพลิเคชั่นบนมือถือได้ แถมตัวหน้ากากยังสามรถวัดค่าคุณภาพอากาศหรือ Air Quality Index (AQI) ได้ด้วย และที่สำคัญคือการวัดค่าการหายใจ, จำนวนการหายใจ รวมถึงการวัดปริมาตรและความจุปอดได้

อย่างไรก็ตาม การจดสิทธิบัตรนี้ไม่ได้หมายความว่าจะต้องมีการเปิดตัวอย่างเป็นทางการจริงๆ ครับ แต่ถ้าทำออกมาก็คงจะดีไม่ใช่น้อยในสภาวะที่โลกกำลังเผชิญอยู่ตอนนี้
ที่มา : 91mobiles