เมื่อไม่นานมานี้เราได้เห็นการยื่นของจดสิทธิบัตรเกี่ยวกับนวัตกรรมใหม่ๆ ของ Apple ซึ่งสิ่งที่ยื่นเพื่อขอจดสิทธิบัตรนี้เป็นการอุปกรณ์ที่เกี่ยวกับเทคโนโลยีอัลตราซาวด์ในอุปกรณ์ของ Apple 2 ใบ

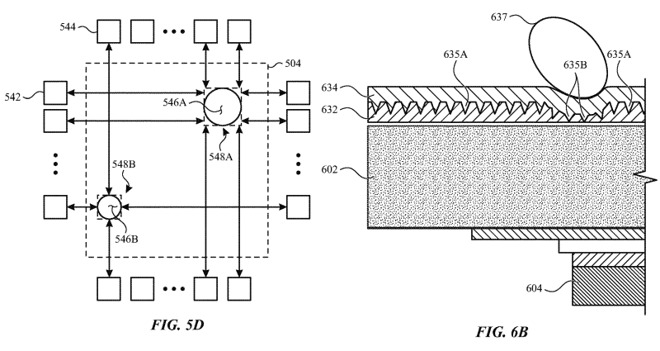
สิทธิบัตรใบแรกนั้นจะเกี่ยวข้องกับการสัมผัสหน้าจอแสดงผลที่จะมีการปรับปรุงให้ดีขึ้นโดยเทคโนโลยีอัตราซาวด์ ด้วยการวางแผนสัมผัสอะคูสติก ซึ่งเป็นตัวแปลงสัญญาในการส่งคลื่นอัลตราโซนิคไปตามพื้นผิว หลังจากนั้นเซนเซอร์บริเวณรอบๆ ที่มีจำนวนมากจะทำการตรวจสอบคลื่นสัญญาณจากการสัมผัส ซึ่งเซนเซอร์เหล่านี้จะระบุตำแหน่งและขนาดของวัตถุที่กดได้ ซึ่งมันจะช่วยให้การทำงานของหน้าจอสัมผัสที่เร็วขึ้นด้วย ซึ่งคาดว่าน่าจะเป็นเทคโนโลยีที่เป็นตัวตายตัวแทนของ 3D Touch

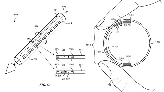
และอีกหนึ่งเทคโนโลยีที่ขอจดสิทธิบัตรก็คือต้นแบบของ Apple Pencil ที่นำเทคโนโลยีอัลตราซาวด์มาใช้โดยการฝังเซนเซอร์ไว้บริเวณรอบๆ ตัวปากกา Apple Pencil เมื่อผู้ใช้งานสัมผัสปากกาจะเกิดอะไรขึ้นนั้นดูเหมือนจะยังไม่สามารถบอกได้ แต่คาดว่าน่าจะเป็นการตัวจับทางการจับปากกา Apple Pencil ว่าเมื่อผู้ใช้งานจับในลักษณะนี้จะต้องเขียนด้วยลายเส้นที่เล็ก แต่เมื่อจับปากกาในอีกลักษณะหนึ่งลายเส้นในการเขียนก็จะใหญ่ขึ้นตามลักษณะการจับก็เป็นไปได้
เนื่องจากเป็นเพียงสิทธิบัตรเท่านั้นไม่มีอะไรที่รับประกันได้ว่า Apple จะเพิ่มเทคโนโลยีเหล่านี้ลงในอุปกรณ์ของตัวเอง อย่างไรก็ตามเมื่อการใช้งานทั้งสองแบบถูกรวมกัน จะทำให้การใช้งาน Apple Pencil มีความแม่นยำและมีประสิทธิภาพมากขึ้นอย่างแน่นอน
ที่มา phonearena