ตอนนี้ Samsung ได้ยื่นของจดสิทธิบัตรสมาร์ทโฟนรุ่นใหม่ นักวิเคราะห์คาดว่าน่าจะเป็นรูปแบบของสมาร์ทโฟน Samsung Galaxy S10 ที่จะเปิดตัวในปีหน้า รูปแบบการออกแบบสมาร์ทโฟนรุ่นใหม่นั้น Samsung มีแนวโน้มที่จะพยายามเอาขอบหน้าจอแสดงผลออก ส่งผลให้หน้าจอแสดงผลจะมีพื้นที่มากขึ้นไปด้วย

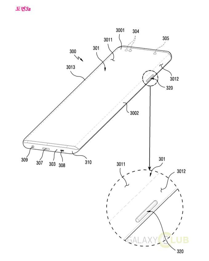
แนวคิดในการออกแบบสมาร์ทโฟนของ Samsung นั้นก็ตรงกับรูปภาพที่ Samsung ได้ยื่นของจดสิทธิบัตรใหม่ แต่ดูเหมือนว่า Samsung ยังคงเอกลักษณ์ด้วยการรักษาปุ่มต่างๆ บริเวณรอบตัวเครื่อง แต่มีปุ่ม Bixby ที่อยู่ด้านล่างปุ่มเพิ่มลดเสียงได้หายไป แม้ว่าจะมีเสียงจากผู้ใช้งานที่ต้องการนำปุ่มเหล่านี้ออกและมาสั่งงานผ่านหน้าจอแสดงผลแทน นอกจากปุ่มที่มีการปรับปรุงใหม่แล้วสมาร์ทโฟนรุ่นนี้ยังมีการติดตั้งกระจกป้องกันหน้าจอถึง 3 ชั้นทำให้มั่นใจได้เลยว่าหน้าจอแสดงผลจะมีความแข็งแรงทนทาน

ที่มา phonearena