เราอาจจะได้ยินข่าวเกี่ยวกับแผนงานที่ทาง Motorola กำลังจะเตรียมตัวเปิดตัวสมาร์ทโฟนพับเก็บได้รุ่นใหม่โดยคืนชีพตระกูล Razr ให้กลับมายิ่งใหญ่อีกครั้ง ซึ่งข่าวสารที่ออกมาในช่วงนี้ทำให้เรารู้ว่าสมาร์ทโฟนพับเก็บได้ของ Motorola ที่จะใช้ชื่อ Razr นั้นจะเป็นสามารถโฟนที่มีลักษณะเหมือนกับมือถือจอพับที่เราเห็นกันในอดีต โดยรูปทรงและหน้าตาของสมาร์ทโฟนรุ่นนี้จะเหมือนกับ สมาร์ทโฟนรุ่นพี่ในตระกูล Razr

ส่วนโครงสร้างและฟีเจอร์ที่จะอยู่ในสมาร์ทโฟนรุ่นนี้ยังไม่มีการเปิดเผยมากนักจนมาถึงตอนนี้ได้มีข้อมูลหลุดเกี่ยวกับรายละเอียดฟีเจอร์ที่จะมีอยู่ในสมาร์ทโฟนรุ่นนี้ โดยข้อมูลนี้ได้ถูกเปิดเผยจาก XDA Developers เริ่มจาก
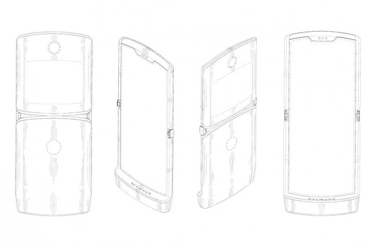
- หน้าจอแสดงผลอาจจะมี 2 ด้านเพราะทาง XDA Developers บอกว่าหน้าจอที่ 2 จะอยู่ด้านหลัง
- ฟีเจอร์ที่มีอยู่ใน Android อาจจะใช้งานกับสมาร์ทโฟนรุ่นนี้ไม่สมบูรณ์เต็มที่
- มีแอพพลิเคชั่น 2 แอพที่ได้รับการอนุญาติให้แสดงผลบนหน้าจอแสดงผลที่ 2 เช่น Moto Display, Moto Actions และ Moto Camera

- เมื่อไม่ได้พับหรือกางออกหน้าจอแสดงผลที่ 2 จะกลางเป็น trackpad เพื่อใช้ในการท่องเว็บไซต์ในแอพพลิเคชั่น Chrome
- สมาร์ทโฟนรุ่นนี้สนับสนุน Engineers plan และหน้าจอแสดงผลยังสามารถตั้งค่าได้ 6 ระดับ
- ส่วนกล้องถ่ายรูปหลักนั้นจะอยู่ด้านหลัง และจะใช้หน้าจอแสดงผลที่ 2 เป็นหน้าจอหลักในการถ่ายรูป นอกจากนั้นหน้าจอแสดงผลที่ 2 ยังไว้สำหรับแจ้งเตือนข้อความ นาฬิกา หรือในการควบคุมเครื่องเล่นต่างๆ และเราสามารถเปลี่ยนภาพพื้นหลังของหน้าจอนี้ได้ด้วย
จากคุณสมบัติที่บอกมานี้เมื่อดูจากสิทธิบัตรที่ทาง Motorola ได้จดมาก่อนหน้านี้แล้ว ทำให้คิดว่าสมาร์ทโฟน Razr Phone รุ่นใหม่นี้น่าจะมีหน้าจอแสดงผลอยู่ 2 หน้าจอ โดยหน้าจอหลักจะเป็นหน้าจอแสดงผลที่พับเก็บได้ และอีกหนึ่งหน้าจอก็จะอยู่ด้านหลัง เอาเป็นว่าอีกไม่นานเราคงได้ข้อมูลและภาพเรนเดอร์ของสมาร์ทโฟนรุ่นนี้แน่นอน ต้องอดใจรอกันหน่อย
ที่มา gsmarena