เป็นเรื่องที่น่าทึ่งอย่างมากที่ทาง Motorola ได้ยื่นจดสิทธิบัตรใหม่กับทางสำนักงานสิทธิบัตร ของทางสหรัฐอเมริกา ซึ่งผู้ที่มาเปิดเผยให้เราเห็นก็คือ Mobielkopen ว่าสิทธิบัตรที่ทาง Motorola ยื่นนั้นเป็นสิทธิบัตรเกี่ยวกับสมาร์ทโฟนที่สามารถพับหน้าจอแสดงผลได้
การยื่นขอจดสิทธิบัตรในสหรัฐอเมริกามีชื่อว่า อุปกรณ์อิเล็กทรอนิกส์พร้อมบานพับและระบบ เป็นลิขสิทธิ์ของ Motorola Mobility LLC จาก Chicago, IL การยื่นเรื่องนี้ถูกส่งไปยัง USTPO เมื่อวันที่ 31 พฤษภาคมและเพิ่งมีการเผยแพร่เมื่อวานนี้
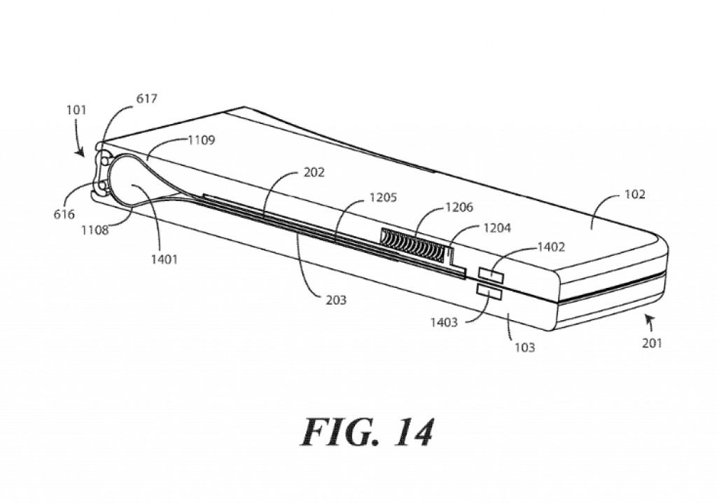
ในไฟล์ PDF ที่ทาง Mobielkopen นำมาออกเผยแพร่นั้นเป็น แผนภาพอุปกรณ์อิเล็กทรอนิกส์ชนิดหนึ่งที่คล้ายกับสมาร์ทโฟน และสามารถพับหน้าจอแสดงผลได้ ซึ่งนั้นเป็นสิ่งที่ทำให้เรามั่นใจว่าทาง Motorola กำลังพัฒนาเทคโนโลยีเพื่อที่จะผลิตสมาร์ทโฟนที่สามารถพับเก็บได้ ด้านหน้าของอุปกรณ์ที่กางออกมีหน้าจอสัมผัสแบบพับเก็บพร้อมกับบานพับอยู่ตรงกลาง บานพับถูกออกแบบตามหลักวิศวกรรมบางอย่างเพื่อให้หน้าจอแสดงผลสามารถพับเก็บได้

ด้านหลังของสมาร์ทโฟนต้นแบบที่สามารถแบบพับเก็บ มันเหมือนกับด้านหลังของสมาร์ทโฟน Moto X เลย ซึ่งด้านหลังนี้ดูเหมือนว่าจะเป็นตำแหน่งของกล้องถ่ายรูป และถัดลงมาน่าจะเป็นเครื่องสแกนลายนิ้วมือหรือตำแหน่งของตรา Moto ในครึ่งล่างด้านหลังน่าจะเป็นช่องลําโพงที่มีลักษณะคล้ายกับ Moto X
สิทธิบัตรนี้จะอธิบายถึงวิธีการประกอบสมาร์ทโฟนเครื่องนี้และกลไกการทำงานในการพับหน้าจอแสดงผลแบบยืดหยุ่น สิทธิบัตรนี้ไม่ได้หมายความว่านี่เป็นอุปกรณ์อิเล็กทรอนิกส์ที่มั่นใจว่าจะเห็นได้จาก Motorola แต่อย่างน้อยที่สุดก็พิสูจน์ได้ว่า Motorola กำลังพยายามหาแนวทางในการผลิตสมาร์ทโฟนแบบพับเก็บได้นี้ ใครอยากจะดูรายละเอียดแบบเต็มๆ เป็นไฟล์ PDF ก็สามารถคลิกที่ลิงค์เครดิตได้ล่างได้เลย
ที่มา mobielkopen