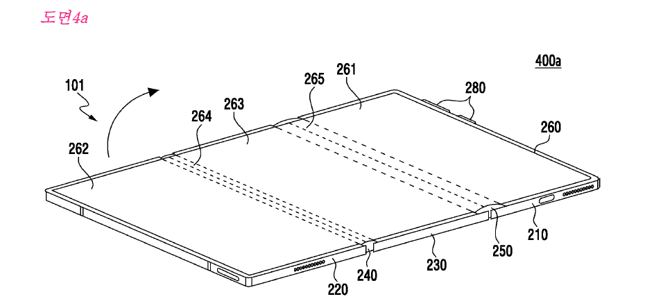
ใครที่รอสมาร์ทโฟนจอพับ 3 ทบของ Samsung ตอนนี้มีความเคลื่อนไหวในการจดสิทธิบัตรที่เผยให้เห็นถึงการใส่แบตเตอรี่ออกมาแล้วครับ โดยคำขอจดสิทธิบัตรถูกเผยแพร่โดย KIPRIS เมื่อสัปดาห์ที่ผ่านมา เห็นดีไซน์ขั้นสุดท้ายของรุ่นนี้แม้จะมีความคล้ายกับ Galaxy Z Fold7 ก็ตามครับ

ภาพร่างโดยละเอียดเผยให้เห็นถึง Galaxy Z TriFold ที่น่าจะใช้พลังงานจากแบตเตอรี่ถึง 3 ก้อนเต็มๆ ซึ่งแต่ละส่วนของรุ่นนี้จะมีแบตเตอรี่ฝังอยู่ทั้งหมด แถมแบตฯ แต่ละก้อนก็มีขนาดใหญ่ขึ้นเรื่อยๆ เมื่อนำมาเรียงกัน

โดยส่วนประกอบตรงโมดูลกล้องจะมีแบตเตอรี่ขนาดเล็กที่สุด ขณะที่ตรงกลางที่มีหน้าจอไว้จะซ่อนแบตเตอรี่ขนาดใหญ่แบบกลางๆ เอาไว้ และส่วนที่ 3 ที่เป็นส่วนที่ประกบอยู่ระหว่างอีก 2 ก้อนเมื่อพับเก็บ จะมีแบตเตอรี่ขนาดใหญ่ที่สุดครับ
อย่างไรก็ตาม แม้จะมีภาพโครงร่างชัดๆ ให้เราได้ชม แต่ใน KIPRIS ไม่ได้มีสเปคหลักๆ บอกเราในครั้งนี้ครับ




แต่สเปคก็พอมีหลุดออกมาบ้าง โดยจะได้หน้าจอหลักด้านในเมื่อกางทั้งหมดจะอยู่ที่ 10 นิ้ว แบบ Dynamic AMOLED 2X มีอัตราส่วนที่กว้างกว่า Z Fold ปกติ ใช้ชิป Snapdragon 8 Elite, RAM สูงสุด 16GB ได้กล้องหลัง 3 เลนส์ คือเลนส์หลัก 200MP + Ultra-Wide 12MP + Periscope 5x 50MP
สำหรับการเปิดตัวของ Galaxy Z TriFold คาดว่าจะอยู่ในช่วงปลายเดือนตุลาคมนี้ และอาจมาแค่บางประเทศ แบบเดียวกับรุ่น Galaxy Z Fold SE ที่วางจำหน่ายเฉพาะในจีนและเกาหลีเท่านั้นครับ
ที่มา : GalaxyClub