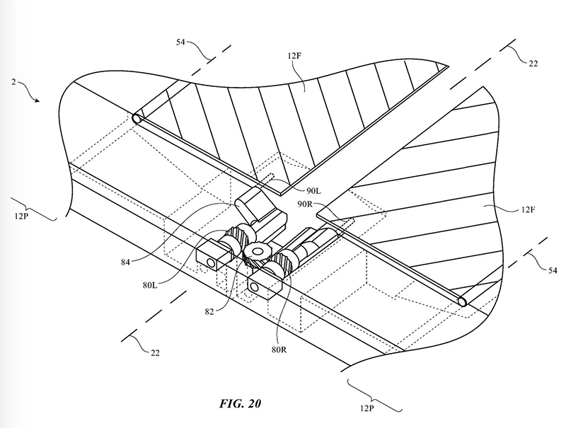
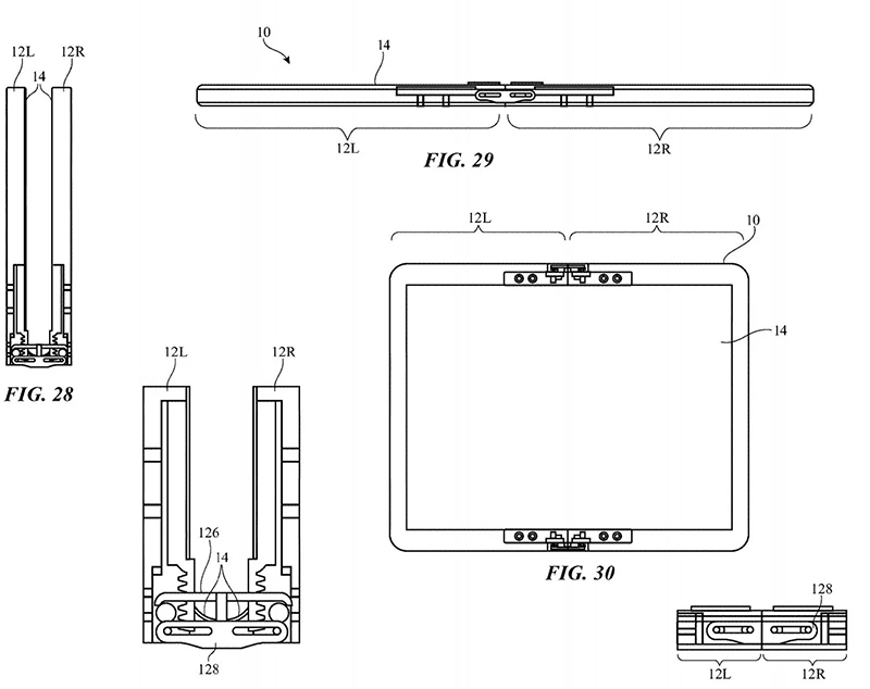
ในสัปดาห์นี้ Apple ได้จดสิทธิบัตรสำหรับอุปกรณ์จอพับที่มีความแปลกใหม่พอสมควรในด้านกลไกการพับ ซึ่งใช้ประโยชน์จากตัวบานพับเพื่อป้องกันหน้าจอแสดงผลจากความเสียหายเมื่อพับครับ


สิทธิบัตรดังกล่าวได้จดผ่านสำนักงานทรัพย์สินทางปัญญาสหรัฐ (U.S. Patent and Trademark Office : USPTO) โดยอธิบายว่ากลไกการพับนั้นมีการแยกเป็น 2 ส่วนอย่างชัดเจน เมื่ออุปกรณ์กางออก ตัวบานพับก็จะขยายออกเพื่อปิดช่องว่างที่เหลือ และเมื่อทำการพับ ตัวบานพับก็จะขยับถอยลงมาด้วย

สำหรับสมาร์ทโฟนหรืออุปกรณ์หน้าจอพับได้นั้นถือว่าเป็นนวัตกรรมที่ก้าวหน้ามากๆ ในวงการสมาร์ทโฟน ซึ่งต้องมาดูกันครับว่าถ้า Apple ทำออกมาจริงๆ จะมีหน้าตาและดีไซน์ออกมาได้ว้าวหรือไม่ ก็ต้องคอยติดตามกันครับ
ที่มา : macrumors