Apple จดสิทธิบัตร iPhone ดีไซน์ Mac Pro ที่เคยโดนแซวว่าเป็นที่ขูดชีส

โดย Shine

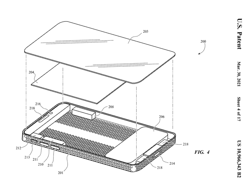
Apple จดสิทธิบัตรเกี่ยวกับ iPhone รุ่นใหม่ในอนาคต (ที่อาจไม่ได้ใช้งานจริงๆ ก็ได้) โดยมาในดีไซน์ที่เป็นช่องระบายความร้อนคล้ายกับที่ขูดชีสของ Mac Pro

ก่อนหน้านี้ Apple ได้จดสิทธิบัตรผ่านทางสำนักสิทธิบัตรและเครื่องหมายการค้าของประเทศสหรัฐอเมริกา (USPTO) ไปกว่า 77 แบบแล้ว โดยสิทธิบัตรของ iPhone รุ่นดังกล่าวจะมีพื้นผิวชั้นแรกและชั้นที่ 2 ที่มีความแตกต่างกัน ซึ่งดูแล้วจะเหมือนกับรูรับายใน Mac Pro และหน้าจอ Pro Display XDR

ทั้งนี้ Apple ระบุเพิ่มเติมว่าดีไซน์นี้จะช่วยในเรื่องความร้อนที่ระบายได้ดียิ่งขึ้น และจะช่วยให้การทำงานทำได้อย่างเต็มที่ประสิทธิภาพด้วย

ที่มา : Patently Apple, 9to5mac

เรื่องที่เกี่ยวข้อง

This website uses cookies to improve your experience. We'll assume you're ok with this, but you can opt-out if you wish. Accept Read More