ตอนนี้ดูเหมือนว่า Apple จะมีการขยับเกี่ยวกับเทคโนโลยีที่จะเกิดขึ้นในอนาคตมากขึ้นเพราะก่อนหน้านี้เราก็เคยได้เห็นสิทธิบัตรของ Apple ที่เกี่ยวกับการออกแบบ iPhone ที่ไม่มีรอยบากแต่กลับมีรูบนหน้าจอแสดงผลแทน และล่าสุดทาง Apple Insider ได้ออกมาเปิดเผยสิทธิบัตรเกี่ยวกับ Apple Watch ฉบับใหม่ของทาง Apple ที่เผยให้เห็นว่า Apple Watch ในอนาคตอาจจะมีการติดตั้งกล้องถ่ายรูปมากกว่า 1 ตัวลงไป

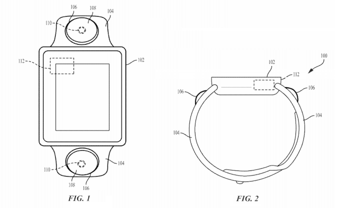
โดยกล้องถ่ายรูปตามสิทธิบัตรที่ทาง Apple ได้ยื่นไปนั้นก็จะมีการติดตั้งกล้องถ่ายรูป 2 ตัว สาเหตุหลักๆ ที่ทาง Apple ติดตั้งกล้องถ่ายรูป 2 ตัวนั้นก็เพื่อให้ได้มุมภาพที่ดีที่สุด เราลองนึกกันนะครับว่าเมื่อเราจำเป็นต้องคุยผ่าน FaceTime ผ่าน Apple Watch ถ้ามีกล้องเพียงตัวเดียวเราจำเป็นต้องยกมือด้านที่สวมใส่ Apple Watch ขึ้นมาให้อยู่ในระดับเดียวกับใบหน้า ซึ่งมันเป็นลักษณะการคุยที่ผิดธรรมชาติไปหน่อย ในการคุยแต่ละครั้งเชื่อว่าทุกคนคงไม่ยกมือขึ้นมาอยู่ในระดับเดียวกับใบหน้าได้ตลอดเวลา

แต่ถ้าเราเอานาฬิกาอัจฉริยะ Apple Watch ไปอยู่ในระดับที่ต่ำกว่าใบหน้า มุมภาพที่ได้จะเป็นมุมเงยส่องไปด้านล่างใบหน้า เห็นไปยังขนจมูกเลย และที่ผมบอกนั้นคือปัญหาที่ Apple จะแก้ไขด้วยการติดตั้งกล้องถ่ายรูป 2 ตัวโดยมีเลนส์มุมกว้าง เพื่อจับหน้าผู้ใช้งานในมุมที่ต่างกันของกล้องถ่ายรูป เพื่อให้ได้ภาพใบหน้าที่ชัดเจนและดีที่สุด อย่างที่รูกันอยู่แล้วว่าในปัจจุบัน Apply Watch มีความสามารถในการสั่งงานโทรออกด้วยเสียงแล้ว ซึ่งก้าวต่อไปของ Apple Watch นั้นก็คือ FaceTime

แต่สิ่งสำคัญที่จะทำให้แนวคิดนี้ของ Apple เป็นจริงได้นั้นจำเป็นต้องอาศัยพลังการสนับสนุนจากอุปกรณ์ภายในที่มีประสิทธิภาพอย่างมากเหมือนกัน รวมถึงซอฟต์แวร์ที่มีความฉลาดที่จะประมวลผลจากกล้องถ่ายรูปทั้งสองให้ภาพที่ได้ออกมาดีที่สุด แต่ก็มีความเป็นไปได้เหมือนกันว่า Apple อาจจะติดตั้งกล้องเพียงตัวเดียวแต่เพิ่มความสามารถของเลนส์กล้องถ่ายรูปให้มากขึ้น นักวิเคราะห์คาดว่าเทคโนโลยีที่เห็นในสิทธิบัตรนี้มีความเป็นไปได้ที่จะเกิดขึ้นในอีก 3 ถึง 4 ปีข้างหน้าหรือไม่ก็เร็วกว่านั้น

ที่มา phonearena