การใช้งานสมาร์ทโฟนตามที่นั่งต่างๆ ไม่ว่าจะเป็นบนรถโดยสารสาธารณะหรือโต๊ะนั่งตามที่ต่างๆ ไม่ใช่มีเพียงเจ้าของตัวเครื่องเท่านั้นที่มองเห็นหน้าจอ แต่คนข้างๆ ที่อยู่ใกล้ๆ ก็ยังมองเห็นหน้าจอด้วย จึงเป็นที่มาของเทคโนโลยีใหม่นี้จาก Apple ที่จะทำให้คนข้างๆ มองไม่เห็นว่าเรากำลังดูอะไรบนหน้าจอ iPhone

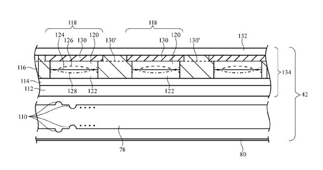
ตามรายงานจากเว็บไซต์ Apple Insider ได้มีการค้นพบสิทธิบัตรใหม่จาก Apple ที่เรียกว่า Displays With Adjustable Angles-of-View ซึ่งเกี่ยวกับเทคโนโลยีที่จะช่วยให้ผู้ใช้สามารถปรับมุมมองของหน้าจอแสดงผลได้ เพื่อป้องกันความลับหรือสิ่งที่กำลังทำบนหน้าจอของ iPhone, iPad หรือ Mac จากบุคคลรอบข้างที่จะมองไม่เห็นหน้าจอจากมุมอื่น และสามารถเลือกมุมมองแบบกว้างได้หากต้องการให้บุคคลรอบข้างมองเห็นหน้าจอ
สำหรับเทคโนโลยีดังกล่าวเป็นการนำชั้นเลเยอร์ปรับมุมมองใส่เข้ามาไว้บนหน้าจอแสดงผลอีกชั้นที่คล้ายกับฟิลเตอร์และควบคุมการทำงานได้ด้วยกระแสไฟฟ้า ซึ่งแน่นอนว่าจะต้องเป็นผลิตภัณฑ์รุ่นใหม่ๆ ที่จะสามารถใช้งานเทคโนโลยีดังกล่าวได้
การป้องกันบุคคลรอบข้างมองหน้าจอในปัจจุบันที่หลายคนน่าจะรู้จักกันดีก็จะมีฟิล์มกันรอยที่เรียกว่า ฟิล์มกันเสือก ซึ่งตัวฟิล์มจะเหมือนกับฟิล์มกันรอยทั่วไป แต่จะมองเห็นหน้าจอแสดงผลได้เฉพาะมุมตรงเท่านั้น หากมองจากมุมด้านข้างก็จะมองเห็นเป็นหน้าจอดำๆ
ต้องรอดูกันต่อไปว่าเทคโนโลยีการปรับมุมมองหน้าจอเองได้จาก Apple นี้ จะได้เห็นของจริงกันเมื่อใด