ขณะนี้ Samsung เองได้เปิดตัวสมาร์ทโฟนที่พับเก็บเครื่องได้ออกมาสู่ตลาดจริงๆ สมาร์ทโฟนรุ่นนั้นก็คือ Galaxy Fold แต่ดูเหมือนว่า Samsung จะได้ได้หยุดพัฒนาไว้แค่นี้หลังจากสิทธิบัตรใหม่ของ Sumsung แสดงให้เห็นสมาร์ทโฟนพับเก็บได้รูปแบบใหม่ที่มีเพียงแค่ 2 จอเท่านั้นและสามารถพับออกมาด้านนอกได้ด้วย เอาจริงๆ การเปิดสมาร์ทโฟนพับเก็บได้ในสิทธิบัตรใหม่นี้เหมือนกับ Huawei Mate X

สิทธิบัตรนี้จะเรียกว่าใหม่ล่าสุดก็คงไม่ได้เพราะทาง Samsung ได้ยื่นจดสิทธิบัตรกับ WIPO นี้ตั้งแต่เดือนพฤศจิกายน 2018 จะเห็นว่ารูปแบบการพับของสิทธิบัตรใหม่นี้จะแตกต่างจาก Samsung Galaxy Fold อย่างเห็นได้ชัดเพราะสมาร์ทโฟนที่อยู่ในเอกสารนี้จะมีเพียง 2 จอเท่านั้นและจะสามารถกางออกมาด้านหลังได้ด้วย ซึ่งแตกต่างจากพับของ Galaxy Fold

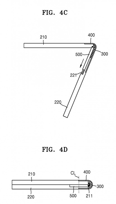
รายละเอียดเกี่ยวกับสิทธิบัตรนี้ยังมีน้อยมาก ตอนนี้เท่าที่เห็นนั้นเราจะเห็นว่าสิทธิบัตรนี้มุ่งเน้นไปที่กลไกในการพับเก็บมากกว่า เพราะมีการอธิบายเกี่ยวกับกลไลไว้มากที่สุด ส่วนตำแหน่งของกล้องถ่ายรูปในสิทธิบัตรนี้เรายังไม่เห็นนั้นแปลว่านี่คงเป็นแผนหนึ่งของ Samsung ที่จะผลิตสมาร์ทโฟนพับเก็บได้อีกรูปแบบหนึ่งเชื่อว่าในปี 2020 ก็จะมีสมาร์ทโฟนพับเก็บได้ออกมาอีกรุ่นอย่างแน่นอนและอาจจะมีรูปแบบเหมือนกับสิทธิบัตรนี้ก็ได้
ที่มา gsmarena